801-042-1
Category:
Hanger Assemblies Outside (for Tower)
−
+
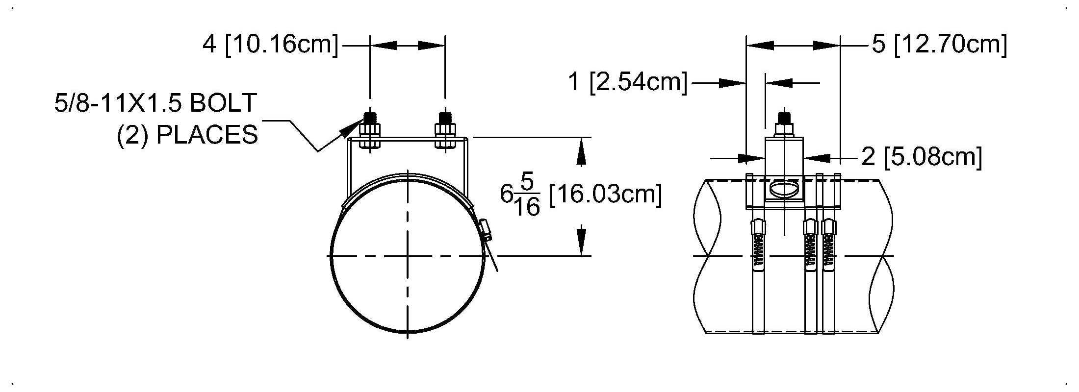
8 3/16" Vertical fixed hanger, single line. Includes line clamps and hardware. Use one fixed hanger at top of tower for ea. 400 ft of vertical run, (min. requirement, 2 hangers). 4.4lbs.
Click here to see all details
As a part of GDPR policy, we use cookies to ensure that we give you the best experience on our website.
I accept